- »
- Sistem alimentare cu combustibil
- »
- Bușoane-Accesorii rezervor
- »
- Bușoane și capace rezervor pentru tractoare Bepco
- »
- Indicator nivel combustibil 3232250R91
Indicator nivel combustibil 3232250R91
BepcoIndicatorul de nivel combustibil 270590800 Cobo oferă măsurare precisă și durabilitate ridicată pentru tractoarele Same și Lamborghini.
Indicator nivel combustibil 3232250R91 – Citire precisă pentru tractoare utilaje Case-IH (motor I.H. D239, D358, etc.)
Indicatorul de nivel al combustibilului 3232250R91, produs de Bepco, este proiectat pentru a oferi o citire clară și fiabilă a cantității de combustibil disponibilă în rezervorul tractoarelor Case-IH, în special cele echipate cu motoare din seria I.H. D-DT. Dispozitivul contribuie la prevenirea opririlor neprevăzute în timpul lucrului agricol, asigurând o informare constantă și precisă privind nivelul de carburant.
Pentru a confirma exact că această piesă se aliniază cerințelor, verifică secțiunea de Compatibilitate cu și detaliile tehnice de mai jos.
Producător
Bepco – furnizor de încredere (Componente pentru Alimentare)
Bepco este un furnizor de încredere în domeniul pieselor pentru utilaje agricole, recunoscut pentru calitatea și fiabilitatea componentelor sale de măsură.
Compatibilitate cu
Dedicat pentru: Tractoare Case-IH (Echipat cu motor I.H.).
Indicatorul asigură o citire exactă a nivelului de combustibil. Vă rugăm să verificați dimensiunile tehnice înainte de achiziție.
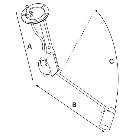
Detalii Tehnice (Dimensiuni)
| Tip Piesă | Cod Produs |
|---|---|
| Lungime A | 147 mm |
| Lungime B | 245 mm |
| Lungime C (Totală) | 355 mm |
Motoare Compatibile (I.H. / Case-IH)
| Seria Motor | Versiuni Aspirate | Versiuni Turbo |
|---|---|---|
| I.H. D2xx | D239, D246, D268 | DT239 |
| I.H. D3xx | D310, D358 | DT358 |
| I.H. D4xx | – | DT402 |
Descriere produs și Beneficii
Construcția durabilă a indicatorului 3232250R91 asigură rezistență la vibrații și uzură, chiar și în medii agricole solicitante. Montarea facilă și compatibilitatea perfectă cu sistemele Case-IH contribuie la o informare constantă și la o planificare eficientă a lucrărilor.
Beneficii cheie:
* Citire exactă și fiabilă a nivelului de combustibil.
* Compatibilitate perfectă cu tractoare Case-IH (motoare I.H.).
* Construcție durabilă, rezistentă la vibrații și uzură.
Recomandare: Verifică dimensiunile (A, B, C) și compatibilitatea cu modelul tractorului înainte de achiziție, pentru a asigura montarea corectă și funcționarea optimă.
Indicator nivel combustibil 3232250R91 compatibil cu:| Compatibil cu marcă utilaj Case-IH: | Tip utilaj/tractor: 1055, 1055 XL, 1056, 1056 XL, 1255, 1255 XL, 1455, 1455 XL, 743, 743 XL, 745, 745 XL, 844, 844 XL, 845, 845 XL, 856, 856 XL, 955, 955 XL, 956, 956 XL |
Coduri produs: 25/172-93, 3232250R91, IH3232250

